欢迎来到河北水蜜桃在线观看电力设备有限公司官网!
180-3210-8181
187-0321-3993
一、管路设计基本要求:
1. 弯头的平均数量不要超过每20m一个。 因此管道若是400m,弯头的最多数量是20个。
2. 弯头间的合适距离应当是10倍的输送管道直径;最小距离是2m。
3. 管径为200mm以内的管道,管路膨胀节应安装于弯头2m以外。
4. 管径为250~350mm的管道,管路膨胀节应安装于弯头3m以外。
5. 管路膨胀节应用于任何型号的卸料阀、切换阀或终端箱前大于3m之处。
6. 管道提升应该用垂直管来实现 ,10°~70°的角度爬升应当避免。
7. 对于AV泵、MD泵系统,管道尽可能在离设备出口近的地方垂直爬升,对于D泵系统,管道则需要在设备出口水平延伸5m 后爬升或转弯。
8. 垂直爬升的数量应尽可能减至最小值。
9. 浓相输送管路应避免管道下降。
10. TD泵输送管道变径点位于管道末端30-50m范围内。
11. 输送管道弯头采用耐磨弯头,转弯半径不小于5倍管道直径,与管道连接时采用法兰连接,其中心线偏差不得超过1.5mm。
12. 任何系统原始数据的变化(尤其是输送距离)请通知河北水蜜桃在线观看电力设备有限公司,以便进行系统校核。
13. 管道直径标准尺寸:

14. D泵输送管道尺寸

15. SCM泵安装注意事项
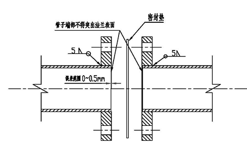
1、主泵与出口泵之间管道直线度不超过1.5mm。管道与法兰焊接、管道与管道对焊要求见下图。

2、排气管应与水平线之间大于60°上升,与灰斗接口应高于灰斗高料位,但低于电除尘器要求的安全距离。

3、出口泵的手动(或气动)排堵管应大于60度上升,与灰斗接口应高于灰斗高料位,但低于电除尘器要求的安全距离。
同上图。
4、排堵阀距离输送管道的中心线的距离小于800mm。
5、泵间流化管道的安装要与标记方向相符,内套管在外管的顶部。
6、所有设备安装后,(单个电场)做系统压力实验。在密封压力0.5MPa时,将压力为0.5MPa的压缩空气充入到管道内做气密试验,压降在30分钟内小于0.1MPa,用肥皂水检查泄露点,保证管道无泄露点。
7、管道上套筒膨胀节安装结束后,将螺栓重新对角、均匀紧固并保证密封。
8、要保证(泵体入口阀上方的)柔性接头的固定两短节之间的安装间隙为25-30mm。
9、大小头(方圆节)法兰的连接要保证密封,必要时可以在法兰垫上涂少量的润滑油脂。
10、仪用空气供气管道应由下而上与控制箱连接。气控箱与支路之间的距离小于2米,并使用1/2”(或3/4”)的管路与气控箱的进气球阀连接。气控箱的进气球阀应具有如下功能:在关闭时将进入各个阀门内空气排空的功能。
11、管路与气控箱入口阀连接需要使用活接头(油任)。
12、控制电缆接线前,请仔细核对图纸,避免返工。
13、输送管路上的压力变送器和压力开关在调试前需要重新校验。